prev next



11.2
Poynting's Theorem

The objective in this section is to derive a statement of energy conservation from Maxwell's equations in the form identified in Sec. 11.1. The conservation theorem includes the effects of both displacement current and of magnetic induction. The EQS and MQS limits, respectively, can be taken by neglecting those terms having their origins in the magnetic induction o (H + M)/ t on the one hand, and in the displacement current density (o E + P)/ t on the other.

Ampère's law, including the effects of polarization, is (11.0.2).

equation GIF #11.13

Faraday's law, including the effects of magnetization, is (11.0.3).

equation GIF #11.14

These field-theoretical laws play a role analogous to that of the circuit equations in the introductory section. What we do next is also analogous. For the circuit case, we form expressions that are quadratic in the dependent variables. Several considerations guide the following manipulations. One aim is to derive an expression involving power dissipation or conversion densities and time rates of change of energy storages. The power per unit volume imparted to the current density of unpaired charge follows directly from the Lorentz force law (at least in free space). The force on a particle of charge q is

equation GIF #11.15

The rate of work on the particle is

equation GIF #11.16

If the particle density is N and only one species of charged particles exists, then the rate of work per unit volume is

equation GIF #11.17

Thus, one must anticipate that an energy conservation law that applies to free space must contain the term Ju E. In order to obtain this term, one should dot multiply (1) by E.

A second consideration that motivates the form of the energy conservation law is the aim to obtain a perfect divergence of density of power flow. Dot multiplication of (1) by E generates ( x H) E. This term is made into a perfect divergence if one adds to it -( x E) H, i.e., if one subtracts (2) dot multiplied by H.

Indeed,

equation GIF #11.18

Thus, subtracting (2) dot multiplied by H from (1) dot multiplied by E one obtains

boxed equation GIF #11.3

In writing the first and third terms on the right, we have exploited the relation u du = d(fraction GIF #24 u2). These two terms now take the form of the energy storage term in the power theorem, (11.1.3). The desire to obtain expressions taking this form is a third consideration contributing to the choice of ways in which (1) and (2) were combined. We could have seen at the outset that dotting E with (1) and subtracting (2) after it had been dotted with H would result in terms on the right taking the desired form of "perfect" time derivatives.

In the electroquasistatic limit, the magnetic induction terms on the right in Faraday's law, (2), are neglected. It follows from the steps leading to (7) that in the EQS approximation, the third and fourth terms on the right of (7) are negligible. Similarly, in the magnetoquasistatic limit, the displacement current, the last two terms on the right in Ampère's law, (1), is neglected. This implies that for MQS systems, the first two terms on the right in (7) are negligible.

Systems Composed of Perfect Conductors and Free Space

Quasistatic examples in this category are the EQS systems of Chaps. 4 and 5 and the MQS systems of Chap. 8, where perfect conductors are surrounded by free space. Whether quasistatic or electrodynamic, in these configurations, P = 0, M = 0; and where there is a current density Ju, the perfect conductivity insures that E = 0. Thus, the second and last two terms on the right in (7) are zero. For perfect conductors surrounded by free space, the differential form of the power theorem becomes

boxed equation GIF #11.4

with

boxed equation GIF #11.5

and

boxed equation GIF #11.6

where S is the Poynting vector and W is the sum of the electric and magnetic energy densities. The electric and magnetic fields are confined to the free space regions. Thus, power flow and energy storage pictured in terms of these variables occur entirely in the free space regions.

Limiting cases governed by the EQS and MQS laws, respectively, are distinguished by having predominantly electric and magnetic energy densities. The following simple examples illustrate the application of the power theorem to two simple quasistatic situations. Applications of the theorem to electrodynamic systems will be taken up in Chap. 12.

Example 11.2.1. Plane Parallel Capacitor

The plane parallel capacitor of Fig. 11.2.1 is familiar from Example 3.3.1. The circular electrodes are perfectly conducting, while the region between the electrodes is free space. The system is driven by a voltage source distributed around the edges of the electrodes. Between the electrodes, the electric field is simply the voltage divided by the plate spacing (3.3.6),

equation GIF #11.19

while the magnetic field that follows from the integral form of Ampère's law is (3.3.10).

equation GIF #11.20

floating figure GIF #4
Figure 11.2.1 Plane parallel circular electrodes are driven by a distributed voltage source. Poynting flux through surface denoted by dashed lines accounts for rate of change of electric energy stored in the enclosed volume.

Consider the application of the integral version of (8) to the surface S enclosing the region between the electrodes in Fig. 11.2.1. First we determine the power flowing into the volume through this surface by evaluating the left-hand side of (8). The density of power flow follows from (11) and (12).

equation GIF #11.21

The top and bottom surfaces have normals perpendicular to this vector, so the only contribution comes from the surface at r = b. Because S is constant on that surface, the integration amounts to a multiplication.

equation GIF #11.22

where

equation GIF #11.23

Here the expression has been written as the rate of change of the energy stored in the capacitor. With E again given by (11), we double-check the expression for the time rate of change of energy storage.

equation GIF #11.24

From the field viewpoint, power flows into the volume through the surface at r = b and is stored in the form of electrical energy in the volume between the plates. In the quasistatic approximation used to evaluate the electric field, the magnetic energy storage is neglected at the outset because it is small compared to the electric energy storage. As a check on the implications of this approximation, consider the total magnetic energy storage. From (12),

equation GIF #11.25

Comparison of this expression with the electric energy storage found in (15) shows that the EQS approximation is valid provided that

equation GIF #11.26

For a sinusoidal excitation of frequency , this gives

equation GIF #11.27

where c is the free space velocity of light (3.1.16). The result is familiar from Example 3.3.1. The requirement that the propagation time b/c of an electromagnetic wave be short compared to a period 1/ is equivalent to the requirement that the magnetic energy storage be negligible compared to the electric energy storage.

A second example offers the opportunity to apply the integral version of (8) to a simple MQS system.

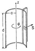
Example 11.2.2. Long Solenoidal Inductor

The perfectly conducting one-turn solenoid of Fig. 11.2.2 is familiar from Example 10.1.2. In terms of the terminal current i = Kd, the magnetic field intensity inside is (10.1.14),

equation GIF #11.28

while the electric field is the sum of the particular and conservative homogeneous parts [(10.1.15) for the particular part and Eh for the conservative part].

equation GIF #11.29

floating figure GIF #5
Figure 11.2.2 One-turn solenoid surrounding volume enclosed by surface S denoted by dashed lines. Poynting flux through this surface accounts for the rate of change of magnetic energy stored in the enclosed volume.

Consider how the power flow through the surface S of the volume enclosed by the coil is accounted for by the time rate of change of the energy stored. The Poynting flux implied by (19) and (20) is

equation GIF #11.30

This Poynting vector has no component normal to the top and bottom surfaces of the volume. On the surface at r = a, the first term in brackets is constant, so the integration on S amounts to a multiplication by the area. Because Eh is irrotational, the integral of Eh ds = E h rd around a contour at r = a must be zero. For this reason, there is no net contribution of Eh to the surface integral.

equation GIF #11.31

where

equation GIF #11.32

Here the result shows that the power flow is accounted for by the rate of change of the stored magnetic energy. Evaluation of the right hand side of (8), ignoring the electric energy storage, indeed gives the same result.

equation GIF #11.33

The validity of the quasistatic approximation is examined by comparing the magnetic energy storage to the neglected electric energy storage. Because we are only interested in an order of magnitude comparison and we know that the homogeneous solution is proportional to the particular solution (10.1.21), the latter can be approximated by the first term in (20).

equation GIF #11.34

We conclude that the MQS approximation is valid provided that the angular frequency is small compared to the time required for an electromagnetic wave to propagate the radius a of the solenoid and that this is equivalent to having an electric energy storage that is negligible compared to the magnetic energy storage.

equation GIF #11.35

A note of caution is in order. If the gap between the "sheet" terminals is made very small, the electric energy storage of the homogeneous part of the E field can become large. If it becomes comparable to the magnetic energy storage, the structure approaches the condition of resonance of the circuit consisting of the gap capacitance and solenoid inductance. In this limit, the MQS approximation breaks down. In practice, the electric energy stored in the gap would be dominated by that in the connecting plates, and the resonance could be described as the coupling of MQS and EQS systems as in Example 3.4.1.

In the following sections, we use (7) to study the storage and dissipation of energy in macroscopic media.




prev next