UPGRADING OF LOW INCOME SETTLEMENTS

COUNTRY ASSESSMENT REPORT

CÔTE D'IVOIRE
Cameroon Market
January 2002

The World Bank
AFTU 1 & 2


ABBREVIATIONS AND ACRONYMS

AFD Agence Française de Développement
(French Development Agency)
A.F.V.P. Association Française des Volontaires du Progrès
(French Association of Volunteers for Progress)
AGF Agence de Gestion Foncière
(Land Management Agency)
AUA Agence d’Urbanisme d’Abidjan
(Abidjan Urban Development Agency)
AURA Atelier d’Urbanisme de la Région Abidjan
(Abidjan Regional Urban Development Agency
BENETD Bureau National d’Etudes Techniques et du Développement
(National Office for Technical Studies and Projects)
B.E.P.U. Bureau d’Etudes et des Projets Urbains
(Office of Urban Studies and Projects)
CAR Comité d’Aide à la Restructuration
(Upgrading Support Committee)
CCG-PACOM Comité Consultatif de Gestion-Programme d’Appui aux Communes (Consultative Management Committee-Municipalities Support Program)
CFAF Communauté Financière Africaine, Francs
(African Financial Community, Francs)
COIC Contrat d’Opérations d’Intérêt Communal
(Operation Contract for Works of Interest to Collective Workers)
DCGTx Direction et Contrôle des Grands Travaux
(Public Works Administration and Control)
EU European Union
IDA International Development Association
GTAQ Groupe de Travail pour l’Amélioration du Quartier
(Work Group for Neighborhood Upgrading)
MACOM Mission d’Appui à la Conduite d’Opérations Municipales
(Support Mission for the Conduct of Municipal Operations)
MCU Ministère de la Construction et de l’Urbanisme
(Ministry of Construction and Urban Development)
MOI Ministère de l’Intérieur
(Ministry of Interior)
MOS Maîtrise d’Ouvre Sociale
(Social Intermediation Team)
MTPTCU Ministère des Travaux Publics, des Transports, de la Construction et de l’Urbanisme (Ministry of Public Works, Transportation, Construction and Urban Development)
NGO Non-governmental Organization
OIDL Organisation Ivoirienne pour le Développement Local
(Ivory Coast Organization for Local Development)
PACOM Programme d’Appui aux Communes
(Municipal Support Program)
P.A.P.H. Projet d’Appui Institutionnelle à la Politique de l’Habitat
(Institutional Support for the Housing Policy Project)
PASQUE Programme d’Appui aux Quartiers Sous-équipés
(Under-Equipped Neighborhood Support Program)
SODECI Société des Eaux de Côte d’Ivoire
(Ivory Coast Water Facilities)
UNDP United Nations Development Program
USAID United States Agency for International Development

TABLE OF CONTENTS

FOREWORD
OVERVIEW

1. PROBLEMS AND CONTEXT
1.1 The Country
1.2 Urbanization
1.3 Problems

2. CURRENT SITUATION
2.1 Housing Characteristics and Location
2.2 Profile of Low Income Community Residents

3. POLICY CONTEXT AND INSTITUTIONAL FRAMEWORK
3.1 Policy Context
3.2 Institutional Framework

4. UPGRADING PROJECTS AND PROGRAMS
4.1 Summary of Policy
4.2 Overview of Initiatives
4.3 Approaches and Upgrading Typologies
4.4 Land and Legal Aspects
4.5 Community Participation
4.6 Financial and Economic Issues
4.7 Overview of Implementation Arrangements
4.8 Other Upgrading Projects

5. CASE STUDY
PASQUE of PACOM (Programme d’Appui aux Communes)

6. LESSONS LEARNED

7. CHALLENGES AND PROPOSED NEXT STEPS

ANNEXES
Annex A: Country and City Profiles
Annex B: Bibliography
Annex C: Contact Information
Annex D: Photographs

FOREWORD

Background to Study

The Africa: Regional Urban Upgrading Initiative, financed in part by a grant from the Norwegian Trust Fund, is examining and selectively supporting urban upgrading programs in Sub-Saharan Africa through a variety of interventions. One component of the initiative focuses on distilling lessons from three decades of urban development and upgrading programs in the region. Specifically, the objective of this component is to assess what worked and what did not work in previous programs for upgrading low-income settlements in Africa, and to identify ways in which interventions aimed at delivering services to the poor can be better designed and targeted.

As a first step, rapid assessment reports were commissioned for five Anglophone countries (Ghana, Namibia, Swaziland, Tanzania and Zambia) and five Francophone countries (Burkina Faso, Cameroon, Cote d’Ivoire, Mali and Senegal). Each of the ten Country Assessment Reports provides an overview of the history of upgrading programs and policies in a given country and presents project or community specific case studies to identify lessons learned. Taken together, these ten reports offer insight into the nature and diversity of upgrading approaches in Africa and highlight some of the challenges in and lessons learned about delivering services to the poor.

Acknowledgments

This paper is one of a series of ten country assessment reports. The study was managed by Sumila Gulyani and Sylvie Debomy, under the direction of Alan Carroll, Catherine Farvacque-Vitkovic, Jeffrey Racki (Sector Manager, AFTU1) and Letitia Obeng (Sector Manager, AFTU2). Funding was provided by the Norwegian Trust Fund for Environmentally and Socially Sustainable Development (NTF-ESSD) and the Africa Technical Department (AFT). Alicia Casalis and Chris Banes conducted the field work for the five Francophone and five Anglophone countries, respectively, and also prepared the draft reports for each of their five countries. Genevieve Connors provided extensive comments and was responsible for restructuring and finalizing the reports. Nine of the reports were edited by Lisa Van Wagner and the Zambia report was edited by Nita Congress.

OVERVIEW

Côte d’Ivoire has been implementing activities and projects to upgrade informal settlements in the Abidjan area and other major cities since the end of the 1970s. However, the level of achievement has not matched the proposed objectives. Different institutional arrangements were set up for the implementation of activities and projects, either centralized through oversight by the National Office for Technical Studies and Projects (BENETD), formerly the Public Works Administration (DCGTx), and the Ministry of Construction and Urban Development (MCU); or decentralized, with oversight by the municipalities.

Some projects used social intermediation teams to support the implementation of projects and to assure the participation of inhabitants. These activities were carried out through international technical assistance teams, national and international non-governmental organizations (NGOs), and/or national consulting firms.

All of the upgrading activities were carried out with community participation supported by neighborhood organizations, such as the Upgrading Support Committee (CAR) and the Work Group for Neighborhood Upgrading (GTAQ). Yet, the involvement of the population was more focused on financial aspects than on true participation in decision-making regarding project options. The involvement of local authorities varied and depended on the particular municipality involved in the upgrading activities. In addition, municipal responsibilities were not clearly defined by the regulations.

According to the new upgrading approach presented by the Department of Upgrading in the MCU in 1992, the ministry responsible for the distribution of urban plots belonging to the State had to play a central role in the upgrading of informal settlements. The methodology applied by MCU is based on land legalization and regularization, and the costs are shared by the population, the municipalities, and the State. The evaluation undertaken in the middle of the 1990s noted that the objectives of upgrading work were only related to land legalization and regularization (lotissement) of land. As a result, the new legalized neighborhoods found themselves under-equipped. However, the mechanisms of upgrading applied in Côte d'Ivoire did make urban land available. This is the main difference between upgrading in Côte d'Ivoire and in other countries such as Mali or Burkina Faso where upgrading activities are stalled by the process of land legalization and the distribution of plots.

During the same period, other neighborhood upgrading projects funded by donor agencies were being implemented; these focused on supporting local initiatives (municipal and community), on social and economic development, and on decentralization through investments in infrastructure, urban facilities, and services.

The activities were not coordinated and the objectives of upgrading were not clearly defined as the projects grappled with several different priorities—trying to choose between land legalization, upgrading infrastructure, or the improvement of living conditions. Ultimately, priority was given to primary infrastructure (roads, water, and electricity) and land legalization. The Under-Equipped Neighborhood Support Program (PASQUE) project funded by the World Bank (WB) and the Man project funded by the French Cooperation were finalized in 2001. Currently there are no ongoing important upgrading projects in Côte d'Ivoire other than the project implemented by the MCU. The recent economic problems have certainly had a negative impact on the living conditions in urban areas and have limited the potential of upgrading activities by the MCU.


1. PROBLEMS AND CONTEXT

1.1 The Country

Côte d’Ivoire, located in western Africa, has an estimated population of 15 million and an annual population growth of 2.6 percent (2000 data). Its economy is primarily agricultural; the country is among the world’s largest producers and exporters of coffee, cocoa beans and palm oil. Until 1975, Côte d’Ivoire was the most prosperous of the sub-Saharan African countries due to its agricultural exports. As the country remains dependent on agriculture, the economy is very sensitive to fluctuations in international prices for these crops. Côte d’Ivoire has been in an economic recession since 1986; the economic decline has led to a reduction in GNP per capita from US$1,000 in 1980 to US$670 in 2000.

The Economist Intelligence Unit reports that “According to a 1995 official survey, the proportion of poor households rose from 11 percent in 1985 to 32.3 percent in 1993. Although the 1994 devaluation of the CFAF benefited rural areas, the purchasing power of urban dwellers, especially civil servants, was curtailed significantly, and the proportion of poor householders in Abidjan rose from 4.8 percent in 1993 to 20.1 percent in 1995.”

In 1999, there was a military coup, the first in the country’s history. A presidential election followed in 2000. The country has recently been dealing with a political and economic instability that it had not experienced previously.

Côte d’Ivoire is ranked 154th out of 174 counties listed by the United Nations Development Program (UNDP) in 2000, according to the Human Development Index (HDI).

1.2 Urbanization

Approximately 46 percent (6.9 million) of the total population of Côte d’Ivoire lives in urban areas, and thus the country is considered urbanized by sub-Saharan standards. The average annual urban population growth was ten percent between 1965 and 1975, and six percent between 1975 and 1988.

Yamoussoukro is the official capital; however, Abidjan is the de facto capital and certainly the largest city. Abidjan is also the main port of the country, and has been growing very quickly. In 1963, the population of Abidjan was 300,000; in 2000, the population was estimated at almost three million, which represents 40 percent of the total urban population of the country. The average population growth in Abidjan was nine percent between 1975 and 1980; four percent between 1980 and 1985; and estimated at four percent in 2000.

The second main town is Bouaké, an important administrative and commercial center, with 460,000 people in 2000. Other urban secondary centers, such as Yamoussoukro, have less than 200,000 people.

1.3 Problems

During the period of economic prosperity, the rate of population growth was very high because of immigration from neighboring African counties. In 1999, it was estimated that workers from neighboring countries, particularly Burkina Faso and Mali, comprised 20 percent of the population. However, with recent economic and political instability in the region, the migration of population to and from the neighboring countries has been fluctuating. For example, after Liberia’s civil war started in 1990, more than 350,000 refugees fled to Côte d’Ivoire. By 1999, most Liberian refugees were assumed to have returned to their country.

Extensive urban poverty is a recent phenomenon in Côte d’Ivoire; in 1992, it was estimated that 50 percent of the total population was living in poverty.


2. CURRENT SITUATION

2.1 Housing Characteristics and Location

The first housing studies carried out by the government of Côte d’Ivoire divided Abidjan into five different categories of housing: A, B, C, D, and E. Category A was reserved for modern European style housing. Categories B, C, and D were set up by legal lotissement operations, taking into account different socio-economic levels. Category E included settlements without legal authorizations and managed by customary rights. Later urban studies in Côte d’Ivoire have continued to refer to these categories.

Abidjan is spread around the Ebrié lagoon. In 1992, the French Development Agency (AFD) and DCGTx carried out a study for Abidjan to analyze the causes of the increase in urban poverty. The study included an analysis of precarious settlements—defined as settlements with illegal land occupation status—that encompassed a range of housing and infrastructure standards from slums to the common habitats de cour.

Abidjan's habitats de cour represent 70 percent of the accommodations in Abidjan. The habitat de cour is composed of accommodation units (for living) and outbuildings (for sanitation and kitchens), and a shared open space, the cour (courtyard), generally in the middle of the plot. A series of contiguous rooms without internal communication make up the accommodation units. The outbuildings are situated in front of the accommodation units and are shared by the residents. The habitat de cour can be built on a plot bought legally or illegally from a customary chief and used either to live in or to rent. The habitat de cour is built with conventional materials; thus, it is not considered slum housing, even if the land has illegal status.

In 1987, 68 neighborhoods of the Abidjan agglomeration were classified as precarious neighborhoods. Spread over the different municipalities and covering almost 10 square kilometers, one-third of the precarious neighborhoods were situated near the Vridi canal and the wharf south of the two bridges (Teichville, Marcony, Koumassi, and Port-Bouët), and two thirds were situated in the northern municipalities.

2.2 Profile of Low-Income Settlement Residents

In 1990, it was estimated that 15 percent to 17 percent of Abidjan’s population lived in informal settlements. These precarious areas had an estimated annual average rate of growth of between 6 and 8 percent. The majority of the inhabitants (60 percent) lived in slum neighborhoods characterized by the absence of infrastructure (roads and sanitation); houses built of precarious materials; and locations classified as inappropriate for urban development. The other 40 percent lived in precarious neighborhoods which had the same physical characteristics as the legalized if under-serviced zones of Abidjan.

Abidjan is characterized by its high percentage of renters and immigrants. In 1994, 75 percent of the city’s inhabitants were renters. Of the total population in the informal settlements, 60 percent were immigrants.


3. POLICY CONTEXT AND INSTITUTIONAL FRAMEWORK

3.1 Policy Context

The government of Côte d’Ivoire has developed an urbanization policy, but despite this effort through subsidies and public financing of land offers, the urban squatter neighborhoods continue to grow. Various regulations have been enacted since 1977 in order to ameliorate the quality of housing for poor people. The 1977 regulations established the modalities of distributing urban plots to poor residents and established urban upgrading as a mode of public intervention.

To set up an operational policy of intervention, the Abidjan Urban Development Agency (AUA) distinguished between precarious and slum/spontaneous neighborhoods:

  • Precarious neighborhoods - neighborhoods that are under-equipped, with houses built of conventional materials, and mainly organized in orthogonally designed spaces in which upgrading is feasible and which differ from the legalized neighborhoods particularly in legal status of the land. These neighborhoods can be upgraded and the land can be legalized.
  • Slum or spontaneous neighborhoods - neighborhoods where upgrading and/or land legalization is not feasible because of urban development hindrances, such as location in the space of a future road, or because of location in an area at risk, for instance, from flooding. These neighborhoods are eliminated from the list of possible beneficiaries of upgrading action.

The Government policy of intervention is to upgrade and legalize, but, if that is not feasible, to displace and reinstall. In 2001, the Urban Development Directorate classified a total of 77 neighborhoods as precarious.

In order to prevent the growth of unplanned quarters and to facilitate urban land production as well as to reserve the urban land necessary for new developments by the State, a joint venture Agence de Gestion Foncière (AGF) was created in 1997. This was proposed in the framework of the Projet d’Appui Institutionnelle a la Politique de l’Habitat (P.A.P.H.).

3.2 Institutional Framework

The upgrading activities that were adopted by the government recognized DCGTx as the primary operational institution because of its technical capacity,. This institution, created in 1978 and reorganized in 1981, was under presidential tutelage, and was initially responsible for the control and maintenance of the main public works. It was considered highly efficient, and progressively concentrated former ministry activities, becoming a very powerful centralized institution. Its responsibilities covered a large spectrum of activities, including the national budget, and rural and urban development.

However, in 1994 the AUA was disbanded and DCGTx lost its hegemonic position, later becoming the National Office for Technical Studies and Projects (BNETD). The ministries then took back their former responsibilities.

The Ministry of Construction and Urban Development (MCU), created in 1981, has principal responsibility for:

  • definition and implementation of urban development, housing, and land policies;
  • general planning and programs;
  • control and approbation of the projects and programs in urban zones.

In order to accelerate land security and the improvement of living conditions, MCU has been applying a Policy for Upgrading Precarious Neighborhoods since 1992. This policy is based on regulation No. 77-615 from 1977. In this framework, a Department for Urban Upgrading, to be in charge of the upgrading of all precarious settlements in the country, was created on behalf of MCU. This department has established a methodology and has carried out some activities in informal neighborhoods, even though it is presently limited in resources.

Today there are 136 fully autonomous municipalities in Côte d’Ivoire. Practically all urban public investment in local infrastructure and services is funded by the municipalities themselves. The municipality’s share of investments is growing because the central government has been facing increasing pressure from other demands; the municipalities are managing to provide a number of required services without receiving a transfer of resources. However, the municipalities are finding it difficult to exercise the authority transferred to them as they lack the necessary resources.

4. UPGRADING PROJECTS AND PROGRAMS

4.1 Summary of Policy

The World Bank has supported five urban development projects in Côte d’Ivoire. The First Urban Project was focused on urban planning and urban transportation in Abidjan (1976-83, a US$44 million loan). The Second Urban Project aimed to improve Abidjan’s infrastructure (1981-87, US$51 million). The Third Urban Project had three main objectives: to improve Abidjan’s infrastructure, to improve housing finance, and to improve land development operations (1987-94, US$126 million). The fourth project, the Municipal Development Project (MDP, 1989-94, US$66 million) was the first project which was intended to strengthen municipalities. The fifth project, the Municipal Support Project, started in 1995, included a sub-component for pilot operations in squatter settlements (US$40 million).

The first experience in restructuring precarious neighborhoods was carried out during the First Urban Project financed by the WB and introduced the notion of cost-recovery for secondary infrastructure. In 1977, the Government approved a regulation which established the framework for upgrading activities, community participation, and cost-recovery for infrastructure and has since largely adopted the principle of upgrading precarious quarters.

Upgrading activities consist of land legalization, paving main roads, providing primary infrastructure (water and electricity), and providing facilities and services. Until 1994, decisions regarding upgrading were made by DCGTx and the MCU. But these two institutions did not work together. DCGTx was involved in Aboisso and Grand Campement while the MCU was involved in projects in Alliondan in 1988 in the Marcory municipality; Remblai I and II and Zoé Bruno in the municipality of Koumassi; and PK 18 and M’Ponon Avocatier in Abobo. The objective for MCU was to set up an upgrading methodology. Of these activities, some were initiated by the community (Zoé Bruno and Zimbabwé neighborhoods).

4.2 Overview of Initiatives

Of the upgrading projects, Sokoura, situated in the Municipality of Aboisso, 110 km from Abidjan, is one of the most well-known. The upgrading of Groudu 3 neighborhood in the Sassandra municipality, 300 km west of Abidjan, has some similarities to the Sokoura project because it was carried out in the framework of the upgrading project, Projets de Quartiers, funded by the French. The main project components were construction and improvement of roads, land regularization and legalization, and economic development. The project started in 1992 and was implemented by the A.F.V.P. The “owner” (maître d’oeuvrage) of the project was MCU; however, in practice, this role was played by the municipality of Sassandra.

Several projects focused on upgrading and improving the living conditions of urban populations have been implemented. These projects, such as PASQUE, a component of PACOM (Programme d’Appui aux Communes), have been implemented in Abidjan. Elsewhere, the French cooperation funded a project in the Man municipality and the EU in the municipality of San Pedro. Operation Ville Propre (Clean Town) in San Pedro is part of the Coastal Municipalities Development Project (Project de Développement des Communes Côtières, PDCC). The main objective is to improve the quality of the environment and to set up a new system to collect the domestic garbage of San Pedro and in so doing to involve the municipality, the population, the NGO, and the private sector.

The Sokoura Upgrading Project of Aboisso Municipality

The neighborhood of Sokoura (50 hectares) is located at the periphery of Aboisso and is situated 110 km southeast of Abidjan. This settlement was created by a population displaced due to the construction of new urban “lotissements” and infrastructure. These populations were provisionally resettled by the State in Sokoura. In 1987, the area had a population of 7,000 inhabitants and its population was composed mainly of allogènes (non-indigenous people) with 63 percent of the residents being foreigners (23 percent from Mali; 24 percent from Burkina Faso). The average family size was 10 persons. The majority of the residents were owners of the land and houses; only 37 percent were renters.

About 75 percent of the houses were built with traditional or scavenged materials. The inhabitants were supplied with water from a well or from a single standpipe. The urban organization was anarchic. The municipality of Aboisso was created in 1980, and since then, a municipal election has been held every five years.

The Sokoura project was evaluated by the French Cooperation during the evaluation of the Projets de Quartiers. Within the same framework, other projects, such as Fass-M’Bao in Senegal, Sigida Kura in Mali, and Nkoldongo in Cameroon, were also conducted. The A.F.V.P. prepared a publication in which the Sokoura project is presented as a case study to illustrate the policy framework of restructuring and land legalization of the Projets de Quartiers.

4.3 Approaches and Upgrading Typologies

The Sokoura project consisted of (i) opening up the neighborhood through the construction or repairing of primary roads and the improvement of secondary roads; and (ii) facilitating access to land ownership and creating a fund based on the plots sold. This fund was to be used for investments in community infrastructure and was to be managed by the inhabitants. In order to identify clearly the priorities of the population and the objectives of the project, three studies were conducted: (1) a study of the socio-economic environment; (2) a study of urban development; and (3) a survey of the land.

4.4 Land and Legal Aspects

The law establishes that vacant lands (land without legal ownership titles and land that has been unoccupied for more than 10 years) belong to the State. This law includes the land belonging to the customary chiefs; however, a 1971 decree recognized minor land use rights by these chiefs. Today, these rights are assimilated almost as ownership rights. In this context, the Abidjan authorities introduced a procedure that ensures that land under customary use rights is available when needed for urbanization. This operation, purge des droits coutumiers (redeeming customary rights), aims to cancel customary land use rights through compensation. This can take the form of a lump sum indemnity by hectare, an indemnity for crops, or an allocation of one or more serviced plots in a future lotissement. In this framework, the lotissement is the administrative and legal tool used by the State to provide land ownership in both new urban areas and occupied squatter neighborhoods. The MCU is responsible for the distribution of these urban plots.

The squatter settlements have developed on land under different forms of legal status:

(a) private land;

(b) private domain of the municipalities (reserved for equipment);

(c) public or private domain of the State; and

(d) land classified as unsuitable for urban development.

Land titles can be obtained after a temporary land concession phase in which the construction of a house in conventional materials must be built. However, for some families, the temporary concession title is enough to provide security for occupancy of the land, particularly in the secondary towns, in which the temporary concession title has the value of a provisional title deed.

Land security was not a main objective at the time of the Sokoura project design. However, it was identified as an important objective in a A.F.V.P. survey of population priorities, as the population of Sokoura had already been displaced twice. For this specific situation, A.F.V.P. opted for land legalization as the only possible response that would provide land security to the population. This security in turn motivated the inhabitants to participate in the upgrading project.

The 15 customary chiefs received compensation in land; for areas with crops, indemnities were paid based on the estimated value of losses. The technical department of the municipality carried out negotiations with the population.

Thus, the main components of the Sokoura project were:

  • Land legalization. Land legalization was conceived as a necessary step prior to regularization and upgrading. The stakeholders paid for the plots; the price was fixed according to the area, the location of plot, and the income of the beneficiary. A fund for solidarity was created in order to support displaced people. The distribution of plots was organized with the participation of the representatives of the population.
     
  • Land regularization and upgrading. The master plan (with primary, secondary and tertiary infrastructure and public spaces for services) was prepared by DCGTx; this master plan was considered too technical to permit the participation of the population. According to the plan, the access roads had been built and the drainage work had been completed. The payments received from the population for their plots were to be invested for the upgrading work.

4.5 Community Participation

In the Sokoura Upgrading Project, the role of the municipalities was somewhat limited and unclear, and usually consisted of approving the population’s upgrading requests and transmitting those requests to MCU for implementation. In the past, some mayors have reacted unfavorably to centralized interventions; for example, the mayor of Koumassi refused to play the role of trésorier payer in the Zoé-Bruno operation; and the Municipality of Abobo asked the population not to pay MCU for cost recovery because the municipality had not been informed of the upgrading activities of the M’Ponon neighborhood.

In 1988, an association of young people (Association des Frères Unis d’Aboisso/Sokoura, AFUAS) was created in order to support the development of the Sokoura neighborhood. AFUAS organized several diverse cultural activities and participated actively in the project information campaign.

4.6 Financial and Economic Issues

The Sokoura project was identified in 1985 and started in 1991. The total cost was CFAF 545 million; this cost was shared by USAID (CFAF 367 million - 67 percent of the total); French cooperation (FAC) (CFAF 120 million); the municipality (CFAF 40 million); and the government, (CFAF 18 million).

The mayor and the project team established the price for the land. For a plot with an average area of 350 square meters, the cost was CFAF 90,000 for a plot on an asphalt road; CFAF 70,000 for a plot on a tarred road; and CFAF 50,000 for a plot on a pedestrian pathway. The funds from the sale of the plots were deposited in a private account managed jointly by the mayor, the neighborhood association, and the A.F.V.P.

There was partial cost recovery from the beneficiaries; in 1996, at the time of evaluation, it was 36 percent of the expected total amount of 70 million. This amount was designated for use in the infrastructure needed at the municipal level; this plan, however, was contrary to the requests of the donors, who had asked that the funds be used for the development of the neighborhood.

4.7 Overview of Implementation Arrangements

The Sokoura project was funded by USAID and the French Cooperation. It was not clearly defined whether the “owner” of the project was the municipality of Aboisso or the State, represented by DCGTx and MCU. Roles were not clearly defined; the main reason for this gap was the establishment of the new decentralization process in tandem with the existence of DCGTx, a centralized institution. The French NGO A.F.V.P. played the role of a social intermediation team under the supervision of the Municipality of Aboisso, which supplied the volunteers with housing and transportation.

Agreements were made between MCU and the project team to simplify the procedures for the Sokoura project, including procedures for the re-installation of displaced stakeholders; for the issuance of permits for construction; and for the development of the plots.

The Sokoura project led to the creation of 638 plots. The average size of the plots was 350 square meters while the minimum size was 200 square meters (at the same time, in other areas of Aboisso, the minimum was 400 square meters). Of the 660 families involved in the upgrading project, 180 (27 percent) were displaced and resettled in other quarters.

As a result of the project, Sokoura attained a standard of infrastructure higher than the average standard in the Municipality of Aboisso; there is drainage for rain water and there are, on average, more paved roads than in other areas of the municipality.

The evaluation authorized by the French cooperation (Sécretariat d’Etat a la Coopération) in 1997 presented in general a positive evaluation; however, some cautionary points were made.

  • Positive local development activities engaged in by the A.F.V.P. There was a positive evaluation of the ways in which the social intermediation team was able to supplement insufficient technical services in order to carry out the surveys that were particularly necessary for the resettlement of the residents displaced during the upgrading work. Also, the A.F.V.P. acted in the role of mediator between the municipality and the community; after two years, a neighborhood association was created in order to do the work of the NGO (A.F.V.P.).
     
  • Caution on high infrastructure standards. These standards had several impacts:
    • demand for plots grew in Sokoura after 1990;
    • the standards of the infrastructure of Sokoura are, on average, higher than that in other legal neighborhoods of the same municipality of Aboisso, and the authorities do not have the financial resources for the improvement of legal under-equipped neighborhoods;
    • the project beneficiaries are mainly foreigners and thus, non-voters; the mayor received many complaints from registered voters regarding high infrastructure standards in former squatter areas.

As a result, the mayor concluded that, if the operation were to start again, the priority would be to upgrade the infrastructure for the entire municipality, not to concentrate efforts on an upgrading and land legalization project for only one illegal settlement.

4.8 Other Upgrading Projects

Upgrading Three Neighborhoods in the City of Man

This upgrading project involved three neighborhoods in the city of Man (pop: 120,000): Kennedy, 1,500 residents; Belle Ville, 2,000 residents; and Campus, 1,500 residents. This project originated as a region twinning agreement between the Man region and the Franche Comté region in France. It is a component of the project Appui à la Ville de Man. The budget was F.F 6 million for investments and an almost equivalent amount for technical assistance. The project started in 1997 and closed in November 2001.

The objective of the city of Man project was the institutional reinforcement of the municipality of Man, particularly in administrative and social services. The reinforcement of social services was considered important in order to respond to the priority demands of the population, to facilitate the work with the population and its representatives, and to assure the sustainability and replicability of the project.

Ten neighborhood associations were identified to participate in the Man project, three in each neighborhood. Priority actions were developed according to three criteria: (i) socio-economic interest, (ii) technical feasibility, and (iii) availability of financing. Proposals were presented by these associations to the municipality. As a result, some projects were identified as priorities and were implemented, including a water supply system and an electricity system, standpipes, a sports field and bridges.

Land regularization was organized with the participation of the population; however, as legalization was estimated to take five years, it was not considered an objective to be attained by the end of the project. For the three neighborhoods, a total of 100 residents were displaced and paid compensation.

Upgrading Precarious Neighborhoods of Abidjan: MCU Policy

In 1992, the MCU created the Department for Urban Upgrading on behalf of the Urban Development Directorate and limited resources were provided. MCU has implemented some activities in precarious neighborhoods such as Ramble I and II and PK 18 and set up a methodology. This is a centralized approach in which the role of the municipalities is limited. The request for the upgrading of a neighborhood is formulated by the population and presented to the MCU, along with a favorable recommendation from the mayor. A technical team composed of professionals from the MCU and the municipality must determine if the neighborhood requesting upgrading is in a zone appropriate for urbanization.

The methodology has three phases:

  • Preliminary studies phase:
    • Gather population information;
    • Build a committee of support for upgrading (Comité d’aide à la restructuration, CAR) which serves as the link between the quarter and MCU;
    • Map the neighborhood (carried out by a private land surveyor);
    • Undertake a census of the beneficiaries (executed jointly by CAR, municipal representatives, and representatives of MCU).
  • Planning phase:
    • Preparation of the upgrading plan (executed by urban planners with the participation of the population).
  • Implementing phase:
    • Establishment of boundaries for plots (prepared by CAR and a private land surveyor);
    • Presentation of the attribution forms to the Service du Domaine Urbain, in order for the stakeholders to pay for the plots;
    • Reinstallation of displaced inhabitants; and
    • Completion of technical infrastructures (by an invitation of tender).

The costs are shared by the State, the municipality, and the population as follows:

costs table

In 1994, the MCU evaluated its first operations in neighborhood upgrading in Abidjan in order to design a policy of intervention on a larger scale. The pilot operations obviously suffered from lack of experience in upgrading and findings which risked blocking further projects included:

  • The population was poorly prepared to be a partner in the management of the projects;
  • Upgrading was reduced to the simple objectives of land legalization and subdivision.

5. CASE STUDY

PASQUE of PACOM (Programme d’Appui aux Communes)

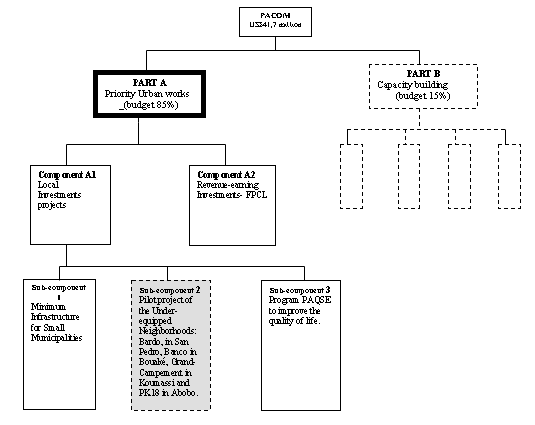
One goal of the Municipalities Support Program (PACOM), funded by the World Bank, was to be more decentralized than the preceding Municipal Development Project (PDM). The project was to support the municipalities in the role of “owners” of the project. The project, with a loan of US$41.7 million, started in 1995 and closed in June 2001.

PACOM had two main objectives: (i) to improve welfare in urban areas by increasing urban incomes and improving urban services; (ii) to improve the ability of the national and local governments to implement and sustain urban services by establishing improved financial and management systems. The population has to be involved in all stages of the project, from the identification of the project to the implementation and management of the infrastructure and facilities.

 

THE PACOM PROJECT COMPONENTS

Pacom Project Components

The main objectives were grouped in two components:

  • Reinforcement of municipal capacities: training to support administrative, financial and technical management; improvement of the mobilization of local resources through support for a fiscal reform system for the municipalities; and support to the informal sector.
  • Priority urban work: capital improvements, including priority work for small municipalities; service improvements in low-income urban areas; and loans to municipalities for revenue-earning investments. The sub-components were the following:
    • Squatter Settlement Pilot Operations. Set up four pilot operations in order to improve the conditions in the poorest and most densely populated settlements in Côte d’Ivoire: Bardo settlement in San Pedro, Banco in Bouaké, and Grand Campement and PK18 in the Abobo district of Abidjan.
    • PASQUE. Rehabilitate squatter settlements in eligible municipalities through the financing of drainage and potable water facilities along primary roads as well as in smaller-scale communities.
    • Minimum Infrastructure for Small Municipalities. Provide basic social infrastructure to municipalities.
    • Revenue-earning Investments. Provide loans to municipalities for income-generating investments, such as rehabilitation of markets and bus terminals.

The mandate from the World Bank for PACOM's projects made it clear that interventions must be in precarious under-equipped neighborhoods and must have the goal of improving the living conditions in areas inhabited by low-income families. It was clearly established by the WB that the loan was not to be used to finance the regularization of land and that the actions were to be concentrated on the rehabilitation of the neighborhoods. In addition, it was mandated that resettlement be reduced to the minimum possible.

Neighborhood eligibility

In order for a neighborhood to be classified as precarious, it has to be situated in a municipality of more than 25,000 inhabitants, be under-equipped, have a high population density (60 inhabitants/hectare) and be on the MCU list of precarious neighborhoods. PASQUE expected to execute both free operations and pilot operations. Pilot operations were projected for Grand Campement (Koumassi municipality, Abidjan agglomeration), Banco (Bouaké municipality), PK 18 (Abobo municipality, Abidjan agglomeration) and Bardo (San Pedro municipality). The objective of these operations was to facilitate the participation of the beneficiaries through social intermediation teams. The free operations involved upgrading under-equipped neighborhoods resulting from submissions by municipalities with participation of the population in the project design.

Project eligibility

The work that can be executed must be included in the list of priority works and equipment presented in the execution manual of PACOM. There are two categories:

  • Equipment: installing drainage; building or rehabilitating roads; constructing market sites; rehabilitating public buildings; planting trees and creating public green spaces; building public latrines; creating a water supply (standpipes or subsidized water supply); and installing public lighting.
     
  • Services: cleaning work (e.g., sewage); collecting garbage.

Financing of projects

The demand has to be approved by the municipal council before being accepted by the Consultative Management Committee, (CCG-PACOM, Comité Consultatif de Gestion-Programme d’Appui aux Communes). A contract between the municipality and the State (represented by the president of the CCG-PACOM) is then signed. The contract is known as the Contrat d’opérations d’intérêt communal (COIC, Contract for Operations of Municipal Interest).

Modalities of execution of COIC

The work execution is the responsibility of the municipalities. The municipality chooses the consultancy firm and the companies for the execution of the work; controls the work; and pays the bills. However, the municipality can receive support from the Support Mission for the Conduct of Municipal Operations (MACOM) for environmental impact studies and for the preparation of plans for the resettlement of displaced people.

Community Participation

PASQUE set up a program of community participation, the Maîtrise d’Oeuvre Sociale. MOS delegated the first years of the project to the A.F.V.P. from MACOM. An agreement was signed between A.F.V.P. and the Government for the intervention in Grand Campement and Banco. A.F.V.P. prepared a technical guide for interventions and training, and for capacity building for national professionals.

MOS was set up and defined as a framework necessary to accomplish operations in order to improve the quality of life in precarious neighborhoods; this framework included the involvement of the population and local authorities as players and included:

  • assisting the population in expressing their needs and formulating their demands;
  • assisting the population in setting up the modes of participation in the design, management, and evaluation of the operations;
  • managing the negotiations with the main players and between different interests present in the same group of players;
  • contributing to the sustainability of the structures that are set up.

A.F.V.P.: Specific Objectives for MOS

  • Pilot projects in Grand Campement and Banco: (i) establishment of local development action; (ii) capacity building for national human resources for MOS.
  • PASQUE projects: support MACOM and other actors (e.g., municipalities, NGOs, and community organizations) with the social intermediation activities needed to implement local initiatives in order to facilitate community participation in all the activities initiated by the municipality.

A.F.V.P.'s other role was to establish a national operational structure and produce a methodology guide related to MOS to be used by other players, such as MACOM, municipalities, and local organizations.

After two years, preparation programs of activities were established for two neighborhoods; in Grand Campement: drainage, water supply, and electrification; in Banco, roads, water supply, and electrification. The pilot projects in PK 18 in Abobo (agglomeration of Abidjan) and Bardo in San Pedro were postponed.

The overseers of PACOM believed that the activities carried out by A.F.V.P. were not efficient in terms of the relationship between the cost of the social intermediation team and the amount of investments executed. Also, the delay in the first disbursements for investments was considered very long; this delay was also seen as the reason for the final disbursements being less than had been projected. There was a postponement of investments in relation to other activities of PACOM. The agreement with A.F.V.P. ceased two years after the start of the project, and a new institutional framework was set up in order to assure that MOS activities would be on-going in new municipal investments with the continuation of PASQUE.

Second Phase of MOS in PASQUE

A coordinator of PASQUE interventions was nominated on behalf of PACOM in order to diminish the delay in investments; MOS was secured by three different local intermediary institutions (NGOs and/or consulting firms) under contract for specific tasks with clear terms of reference. Payments for these institutions are calculated as a percentage of the amount of investments: 10 percent is paid for studies and 10 percent is paid for the activities of MOS. During its mandate and in order to assure the sustainability of MOS, A.F.V.P. trained local professionals who created an NGO and a consulting firm. These intermediary institutions worked for PACOM and for other funding institutions. In order to reduce costs, the MOS teams are not permanently in the field; they work with the GTAQ.

Community Organization

To facilitate the implementation of the projects with population participation, the operator must organize the groups who support the project in order to improve their negotiation capacities. For actions concerning road and infrastructure (water and electricity), GTAQ was created to assure coordination in future interventions and to represent the neighborhoods. This structure is directed by the traditional chiefs and is composed of representatives of the under-equipped quarters; it is meant to be representative of the socio-political organization of the community

GTAQ benefited from the support of A.F.V.P. in organizing its structure, and in establishing its status and internal regulations. This structure had some success in its role of coordination of actions in the quarter; in its relationship with the different services; and in its organization of informational meetings. However, some negative influences were identified. These include insufficiently listening to the population regarding the decisions which were made; difficulty in accepting criticism; and limited capacity to undertake development action.

Framework of negotiation

Following the project regulations, the municipality set up CCL (Comité Consultatif Local); this is composed of MACOM, the MOS team, CIE, SODECI, GTAQ, MCU, and the Centre Social of Koumassi. CCL is a framework for exchanges by all partners in the project.

Institutional Arrangements

PACOM is headed by a national inter-ministerial Committee (Comité Consultatif de Gestion), in which MACOM assumed the secretary-ship, sheltered in the BNEDT (formerly DCGTx). MACOM handled the day-to-day details of the project, centralized the information, and helped municipalities to supervise consultants. MACOM also had the responsibility of supporting the municipalities in identifying and designing all other actions carried out during the project. The municipalities are the “owners” of the projects, and define the project priorities, carry out the invitation to tenders and assure the control and management of the work.

A.F.V.P. acted as the social intermediation team (MOS) for two years, from 1996 to 1998. This French NGO trained the future national operators: NGOs or consultancy firms such as OIDL, Organization Ivoirienne pour le Développement Local; and B.E.P.U., Bureau d’Etudes et des Projets Urbains. There are other MOS operators, such as LIPSC, Ligue Ivoirienne pour la Promotion de la Santé Communautaire. Since 1998, PASQUE has contracted with clear specifications with an operator for each specific investment.

Financial and Economic Issues

For the PASQUE component, the initial budget was CFAF 6 billion. In 2001, only CFAF 4 billion had been dispersed. Community participation in the definition of the priority investments projects through MOS postponed the first project disbursement and created a delay compared to the other component disbursements of PACOM. PASQUE represented 20 percent of the total budget of MACOM.

The investment cost recovery for secondary and tertiary infrastructures and services was 10 percent requested from the population; and 10 percent from the municipality; the other 80 percent was covered by the project.

Project Outcomes and Evaluation

PACOM did not intervene in land legalization. Grand Campement and Banco were illegal neighborhoods, but this problem was not taken into account. The WB had established that its financing was for upgrading activities and not for land legalization activities.

1. Grand Campement in Koumassi

  • The market could not be built because there was no land available.
     
  • Electrification was finalized with individual connections.
     
  • The construction of the water supply system was finalized in December 1999. In April 2001, 11 public standpipes were resettled, one in each sub-quarter. None functioned; managerial problems were not clarified with SODECI. SODECI had asked for a security fund but GTAQ did not approve the amount requested. This highlighted the contradiction between the priority of investments (disbursements) and the participatory logic under which the managerial aspects have to be solved before the investments.

2. The evaluation carried out by A.F.V.P. in 1998 concluded that the PASQUE project was delayed because:

  • The priority neighborhoods chosen for implementation of the pilot project were located in illegal areas. As the WB had stated that it did not want to finance legalization actions, the population involvement was moderated and, therefore, resulted in a mitigated evaluation of the A.F.V.P.
     
  • A.F.V.P. had difficulties in mobilizing and uniting municipalities with the community, and in preparing a program without resettlement.
     
  • The financial rules were not clearly defined, particularly the amount of contribution by the beneficiaries.

In the execution of PASQUE, some questions were posed about MOS, similar to other questions in other projects, such as PACVU in Burkina Faso: Who has to pay for it and how can the cost of MOS be estimated?

PASQUE was not involved in the financing of economic development activities. By its design, this approach focused more on infrastructure development and is limited with regard to the improvement of the living condition in quarters with a low-income population.


6. LESSONS LEARNED

Lessons learned from the evaluation carried out in 1994 of the operation of upgrading precarious neighborhood (Alliodan, M'Ponon, PK18, Ramblai I and Ramblai II and Zoe Bruno) in Abidjan include:

  • Conflict about the population surveys. The process implemented by the MCU to do the population surveys was simplified since all land transactions with traditional chiefs were accepted as such. Three players wanted to carry out the survey: the MCU, the municipalities and the CAR. The decision regarding who got to conduct the survey was made according to variables such as the social structure of the neighborhood and the municipality involved. It is very difficult to impose on the local population an external institution to conduct the survey when conflicts arise over original land occupation.
     
  • Problems concerning how to evaluate the demand of infrastructure by the population and the costs of the upgrading. The MCU's urban planner visited the neighborhoods and the population was invited to participate in the consultations. A list of needs was established with the main ones being: lotissements, land legalization, roads, drainage, water supply, electricity and schools. The method of evaluation of the population's demands consisted in querying the population about their own needs. In spite of the consultations with the population about their priorities, the urban planners proceeded to evaluate the infrastructure in line with the standards established by the government. The MCU decided to establish low standards for upgrading, reducing the operations only to land legalization and plots in order to make plots financially available for the population. However, this approach does not provide an answer to the problems of the financing of infrastructure.
     
  • Inefficient methods of cost-recovery. The cost of plots was composed of: (i) the price of land paid to the State; (ii) the cost of the demarcation of plots; and (iii) the costs of water supply and electrification. The total cost of upgrading was divided by the number of plots in the neighborhood. For the cost recovery, the MCU sent a letter to the mayor and the CAR with the amount that the inhabitant had to pay and the terms of payment. The population found the amount demanded by the MCU too high in view of the fact that they had already paid for the land to the customary chief. Land insecurity was the argument that the MCU used in order to convince the population to make financial contributions for land legalization and regularization. It should be noted that feelings of insecurity vary according to the different situations. In the squatter areas reserved for future resettlements and in the spaces reserved for public infrastructure, the inhabitants considered land legalization as very important. In the lotissements developed by private individuals, the inhabitants feel more secure.
     
  • The financial contribution of the population. Some occupants who had the necessary income had not paid for their plots despite the lengthening of the payment period (from 12 or 18 months to 30 months). It was observed that the rate of payment by foreign beneficiaries was higher than that by citizens. However, the delegate of the inhabitants had considered the plot prices to be too high. Also, the obligation to develop the plot in a limited period of time forced the poorest population to leave.
     
  • Problems with the management of funds. The MCU, the mayors and the CAR all wanted to manage the funds. This problem had not been clarified before the start of the operation.
     
  • Problems with the Resettlement of displaced people. The displaced people did not receive compensation and they had to pay for the costs, just as other beneficiaries did, plus the cost of reconstruction.
     
  • The Role of the mayors and CARs . The mayors and CARs reacted against the centralized method of upgrading established by the MCU. The more important problems that appeared during the upgrading operations are not technical but managerial and were linked to the lack of transparency and confusion in the attribution of roles.
     
  • Clarification of the objectives of the land legalization and upgrading activities. The players interpreted the objectives of the land legalization and regularization activities differently. They were conceived as either the implementation of a lotissement (particularly for inhabitants), land development or improvement of quality of life.

For the other projects carried out in Abidjan some further lessons can be learned.

  • The approach for supporting local initiatives though MOS. In illegal neighborhoods in which it is specified that the intervention must include financing for land legalization (as was the case of PASQUE), it is possible that the time needed for population mobilization is very (or even too) long. This is particularly true because of the requirements of the WB: only a minimum number of people can be displaced and the relocation must be in the same area. For the A.F.V.P., the choice of program is based on the availability of land and conflicts regarding land ownership are very common. These realities interfere greatly with the efficacy of MOS as was the case of PASQUE. The reality may be more complicated than the general principles since, for example, pockets of illegal housing can exist in legal neighborhoods too.
     
  • Actors in the upgrading projects. Each locality needs a specially delegated executor (community association or municipality) for the implementation of the project. The implementation of upgrading projects requires an every-day presence in the field in order to give quick responses to problems that can be addressed only by local inhabitants. There are different options for the delegation of MOS: by the municipality (although there may be problems when there are political changes), the neighborhood association or an NGO. Each option has both positive and negative sides and the choices have to be made on the basis of the specific needs of the particular neighborhood.
     
  • The institutional MOS framework for PASQUE. This framework was to be more efficient especially with regard to investments and disbursements; however, the focus on rapid investments sometimes meant that supporting activities were not achieved. For example, the implementing system for stand-pipes was finalized at the end of 1999, but by April 2001, the stand-pipes were out of order because there had not been any arrangements for their maintenance.
     
  • The international institutions had agreed to pay for MOS; however, the mayors are not eager to pay even though they considered the role of MOS necessary.
     
  • The Projet de Quartier approach, based on community participation for neighborhood investments (such as Sokoura and Goudu 3 in Côte d’Ivoire and other communities in Senegal and Mali), concluded that this approach developed cities from the bottom-up but not from the top. In fact, towns have to be built from both the bottom and the top . Thus, the community participation approach cannot be presented as the only response to the growing urbanization of African countries. It should be noted that there are a growing number of urban upgrading approaches that develop neighborhoods based on community participation. At the same time, a reduced number of investments in urban primary infrastructure is also noted.
     
  • The physical development of the project. The land legalization procedures introduced a series of obligations for the occupants that were simplified but still remain complex (for example, the obligation to demolish a precarious dwelling and build a new house with conventional materials and the obligation to ask for a building permit).

    7. CHALLENGES AND PROPOSED NEXT STEPS

    The Department for Urban Upgrading plans to continue monitoring activities of precarious neighborhoods in order to prevent their spread. However, its role is focused on the collection and analysis of information rather than on intervention. Important upgrading projects as in Man city funded by the French cooperation and the PASQUE funded by the WB were closed in 2001. In Abidjan, seventy-seven quarters were identified as precarious neighborhoods needing upgrading activities but the present economic situation does not readily point to how a large-scale upgrading operation could be implemented.


    Annex A: Country and City Profiles

    Cote d'Ivoire profile


    Annex B: Bibliography

    ACT. Les Projets De Quartiers. Evaluation de Projets de Quartiers et Formulation d’Eléments de Réflexion pour l’Elaboration d’une Stratégie. 1997.

    A.F.V.P. Bilan de la Maitrise d’Oeuvre Sociale dans le Cadre de la Mise en Oeuvre du PACOM.

    A.F.V.P. Sécurité Foncière et Développement Urbain. Le Projet Sokoura. Abidjan, Côte d’Ivoire. Collection Projets de Quartiers.

    DCGTX. Restructuration Grand Campement Koumassi. 1992.

    DCGTX-AUA. Quartiers Precaires d’Habitat a Abidjan. 1992 .

    Mambe, B. P. and Dimba, N’Gou P. Le Mode Operatoire pour la Restructuration et l’Amelioration des Quartiers Precaires en Cote d’Ivoire: Le Cas d’Abidjan. Johannesburg, 2000.

    Ministere de la Construction et de l’Urbanisme (Côte d’Ivoire). Formulation et Conduite d’une Politique de Restructuration de l’Habitat Spontané. Atelier Sous. Régional. 1994.

    Ordonnance No. 77-615 du 24 Août 1977, Relative aux Opérations de Restructuration Urbaine.

    PACOM. Cahier des Charges; Concernant la Maîtrise d’Oeuvre Sociale dans le Cadre du PACOM. 1995.

    ————. Description du Role des Intervenants.

    ————. Eligibilite au PACOM et Conditions a Remplir.

    ————. Guide Methodologique D’Analyse du Processus de Concertation. A.F.V.P.

    ————. Guide Technique du Pacom.

    ————. L’Elaboration du Dossier Sommaire.

    ————. Indicateurs de Performance. 1995.

    ————. Manuel d’Execution pour la Mise en Œuvre du PACOM. 1995.

    P.A.P.H. Nouvelle Politique de L'Habitat en Cote d’Ivoire. 1999.

    World Bank. Ivory Coast: Appraisal of the Urban Development Project. November 1976.

    ———. Staff Appraisal Report. Municipal Support Project-Republic of Cote d’Ivoire. March 1995.

    Yapi-Diahou, Alphonse. Baraques et Pouvoir dans l’Agglomeration Abidjanaise. L’Harmattan. 2000.


    Annex C: Contact Information

    Name Organization Position Address/Telephone
    E-mail
    DIMBA N’GOU Pierre BNETD/MACOM Coordinator PASQE pdimba@bnetd.sita.net
    YAO KOUAME BNETD/MACOM Project chief yaok@bnetd.ci
    COULIBALY Gofaga B.E.P.U. Director (225) 22 42 18 45
    LHOPITAL Louis A.F.V.P. Chargé de Mission louis.lhopital@AFVP.org
    MANOU-SAVINA Annie W.S.P. (GREA) Amanousavina@worldbank.org
    OTTY Léonce M. de la Const. et de l’Urbanisme Chef de Cabinet 20-21 74 78 p216
    07-98 68 80
    MAMBE Beugré Robert P.A.H.P. Coordinator r.mambe@avisa.ci
    225-22 4882 27
    YAPI-DIAHOU Alphonse Ecole Supérieure d’Abidjan Professor / Researcher 22-44 77 70


    Annex D: Photographs

    PASQUE project

    GRAND CAMPEMENT, neighborhood.