 |
 |
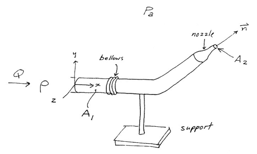
(b)
Demonstrate that
always, that is, in order to hold the system
in place, one must always push on it toward the left, regardless of volume
flow rate or angle.
(c) For the simple case Q=0 (no flow, but
system filled with static liquid to height h), our answer predicts that
the external force required to hold it in place is
Consider a system mounted on a support with frictionless
wheels. The result (1) suggests that if such a system is held in place
and filled with water, and the external holding force removed, it will
tend to move to the right. Does this make sense? Explain.
|
 |
 |