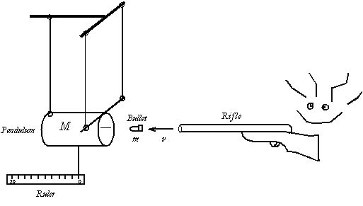
A15. Ballastic Pendulum
KINEMATICS - Speed of a Bullet
The gun is fired into a pendulum hanging from wires. The mass of the pendulum and bullet is measured. Measurement of the displacement of the pendulum then yields the velocity of the bullet.






Location: 26-002, Door #3